Actions
Architecture Details¶
This page is structured exactly by interactions.
Producer Architecture¶
Controller Architecture¶
Consumer Architecture¶
.png)
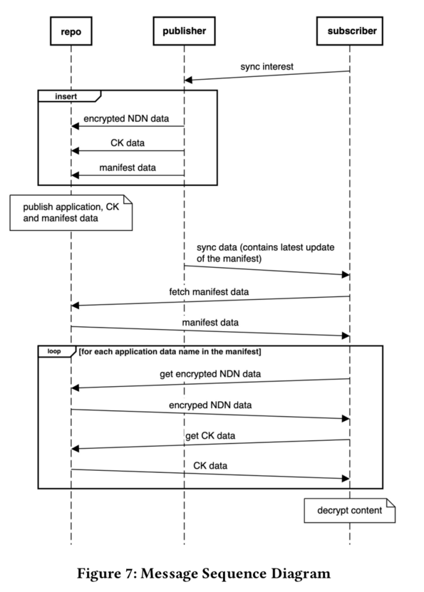
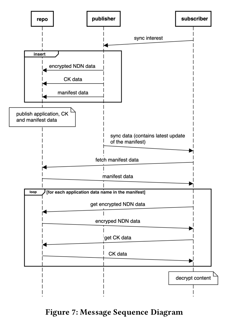
Message Sequence¶

Updated by Suravi Regmi 4 months ago · 16 revisions
This page is structured exactly by interactions.
.png)

Updated by Suravi Regmi 4 months ago · 16 revisions